近日,由中國水產科學研究院黃海水產研究所張浩然等研究發明的“一種船舶用漸進式水垢自清潔熱水箱”獲國家發明專利授權,專利號:ZL 202110308624X。
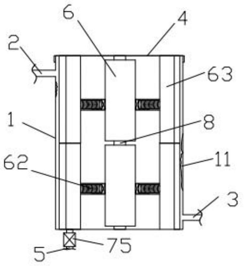
本發明屬于船舶熱水供應領域,更具體的涉及一種船舶用漸進式水垢自清潔熱水箱,包括箱體和設置在箱體上的進水口和出水口,還包括設置于所述箱體內的用于刮除箱體內部表面的水垢刮除器,用于為水垢刮除器提供動力的驅動裝置。所述水垢刮除器包括與驅動裝置連接用于提供動力的轉動桿,所述轉動桿的一端連接有可以伸縮的伸縮機構,所述伸縮機構的另一端連接有用于刮除水垢的刮板;還包括一設置于刮板上用于感受水垢阻力的阻力感應器,一用于感應刮板前端與箱體內壁距離的距離感應器,以及用于控制水垢刮除器和驅動機構的控制器。本發明能夠在快速刮除水垢的同時,保證箱體內壁不受損傷,并能對電機進行保護。
