近日,由中國水產科學研究院黃海水產研究所薛素燕等研究發明的“筏式立體養殖裝置以及該筏式立體養殖裝置的養殖方法”獲國家發明專利授權,專利號:ZL 2021102294739。
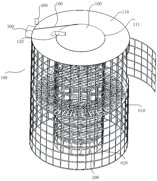
本發明公開一種筏式立體養殖裝置及養殖方法,包括有:第一養殖網箱;第二養殖網箱,其可拆的設置在第一養殖網箱內,在第二養殖網箱內形成有第一養殖空間,在第二養殖網箱上設置有攝像元件和水溫檢測元件,在第二養殖網箱和第一養殖網箱之間有第二養殖空間;第一承載部件,環繞第二養殖網箱設置;第二承載部件,設置在第二養殖網箱內,設置有多個,沿第二養殖網箱的高度方向設置,相鄰的2個第一承載部件之間具有間距;主控器,與攝像元件、水溫檢測元件通訊連接。
通過本發明有望解決現有淺海貝類養殖時存在的附著污損生物,影響網箱網籠內、外的水體交換、妨礙養殖生物的生長,降低水產品的品質以及影響海水養殖業的生產效率和產量、產值等問題。
